finebi热力图配置教程——by郑国际
1.软件下载
FineBI 是帆软软件有限公司推出的一款商业智能(Business Intelligence)产品。FineBI 是定位于自助大数据分析的BI工具,能够帮助企业的业务人员和数据分析师,开展以问题导向的探索式分析。
本次仅使用finebi软件进行热力图配置和展示。
首先通过软件链接,下载客户端。(https://www.fanruan.com/finebi/success)。
2.地图配置
2.1.数据准备
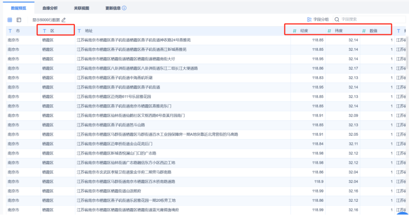
准备好数据内容,需要包含地区信息、经度、纬度、具体地址和计数信息。
1、区域信息:选取到展示粒度,比如展示区县,就写到栖霞区,展示南京市就写到南京市;
2、经纬度数据:经纬度一般会保留到小数点后6位;
3、数值:默认为1,用在后面热力图的数值聚合使用。
2.2.数据导入
选择数据准备模块,点击添加表,选择本地电脑中的Excel文件,finebi可自动识别并将数据导入。
注意:Excel中的6位小数,导入后前台会默认显示后2位,实际不影响热力图展示。
2.3.地图配置
1、选择【仪表板】,点击新建仪表板;
2、点击【组件】,在弹窗中找到刚刚导入的Excel表格,然后点击确定;
3、在【指标】中,选择经度、纬度字段,依次将其转换为对于的地理角色,用于后续热力图展示;
4、在图表类型中,选择【热力图】
5、将【经度】拖拽到【横轴】、【纬度】拖拽到【纵轴】,【地址】拖拽到【细粒度】、【数值】拖拽到【热力色】;
6、点击下方【查看所有数据】,热力图效果即可展现出来;